| 产品标题:韩国三和PMR-220N7|韩国三和PMR电动机保护器 产品ID:VIB20090708211946734 品 牌:韩国三和EOCR 所在地:中国 上海 价 格:面议 (大量采购价格面议) 库存状态:货期待查 更新日期:2025-10-17 21:57:39 咨询电话:(+86)021-51699285 咨询Q Q: 2695337323 |
| 基于MCU的密集型设计 |
| 多保护功能 |
| 2~15%的电压不平衡设定 |
| 跳闸原因指示和故障原因的查找 |
| 手动/电动/自动复位 |
| 失效-安全方式工作 |
韩国三和PMR 保 护
| |||||||||||||||||
| 韩国三和PMR 技术条件 | |||||||||||||||||||||||||||||||||||||||||||||||
| |||||||||||||||||||||||||||||||||||||||||||||||
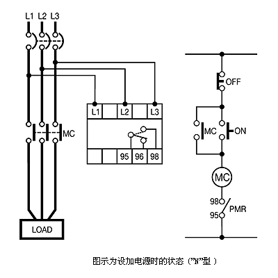
| 韩国三和PMR 典型参考图/接线图/安装尺寸图 | |||||||||||||||||||||||||||||||||||||||||||||||
| |||||||||||||||||||||||||||||||||||||||||||||||
